当电脑上的文件要被读取、存储时,就说明我们需要去保存这份文件。本篇文章主要讲解如何在Python中读取本地文件,对于Python初学者有一定的参考价值。

open() 方法
Python open() 方法用于打开一个文件,并返回文件对象,在对文件进行处理过程都需要使用到这个函数,如果该文件无法被打开,会抛出 OSError。
注意:使用 open() 方法一定要保证关闭文件对象,即调用 close() 方法。
open() 函数常用形式是接收两个参数:文件名(file)和模式(mode)。
语法格式如下
open(file, mode=’r’, buffering=-1, encoding=None, errors=None, newline=None, closefd=True, opener=None)
参数说明:
- file: 必需,文件路径(相对或者绝对路径)
- mode: 可选,文件打开模式
- buffering: 设置缓冲
- encoding: 编码方式一般使用utf8
- errors: 报错级别
- newline: 区分换行符
- closefd: 传入的file参数类型
- opener:
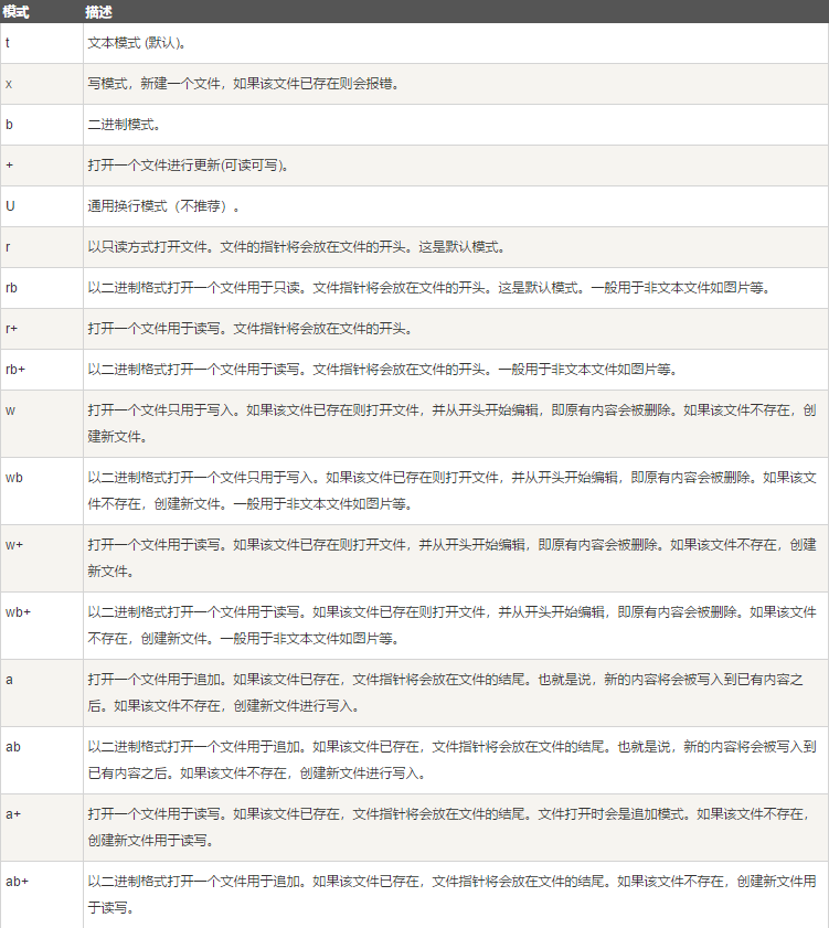
mode的参数有以下几种:

注: 默认为文本模式,如果要以二进制模式打开,加上 b 。
file 对象
file 对象使用 open 函数来创建,下表列出了 file 对象常用的函数:

例如,通过追加的方式打开一个文件,然后写入字典数据:
1 data = {“张三”:89,”李四”:108} 2 a = open(file = “t.txt”,mode = ‘a+’) 3 for key,value in data.items(): 4 str1 = str(key)+”:”+str(value)+”\n” 5 a.write(str1) 6 a.close()
</pre> 运行结果: 张三:89 李四:108 <pre class="brush:js;toolbar:false">
希望本文所说的python读取本地文件方法,能够让大家对学习Python有所帮助。
神龙|纯净稳定代理IP免费测试>>>>>>>>天启|企业级代理IP免费测试>>>>>>>>IPIPGO|全球住宅代理IP免费测试
 
                     
                


